
A sluice (/slus/ SLOOS) is a water channel containing a sluice gate, a type of lock to manage the water flow and water level. It can also be an open channel which processes material, such as a river sluice used in gold prospecting or fossicking. A mill race, leet, flume, penstock or lade is a sluice channeling water toward a water mill. The terms sluice, sluice gate, knife gate, and slide gate are used interchangeably in the water and wastewater control industry.
Operation
"Sluice gate" refers to a movable gate allowing water to flow under it. When a sluice is lowered, water may spill over the top, in which case the gate operates as a weir. Usually, a mechanism drives the sluice up or down. This may be a simple, hand-operated, chain pulled/lowered, worm drive or rack-and-pinion drive, or it may be electrically or hydraulically powered. A flap sluice, however, operates automatically, without external intervention or inputs.
Types of sluice gates

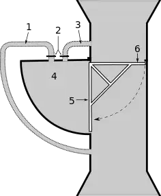
1: Tube connecting the chamber to the high water side of the sluice
2: Gates to regulate the water level in the chamber. Only one gate may be opened at a time
3: Tube connecting the chamber to the low water side of the sluice
4: The chamber in which the water level can be controlled
5: Door with larger surface
6: Door with smaller surface.
When the tube to the high water level side (1) is opened, the water level in the chamber (4) will rise to this same level. As there is no height difference across the larger gate (5), it exerts no force. However, the smaller gate (6) has a higher level on the upstream side, which exerts a force to close the gate (counter-clockwise). When the tube to the low water side (3) is opened, the water level in the chamber (4) will fall, and a force will be exerted on the large door (5) in the opening direction (clockwise). The pressure difference on both doors is the same, but the surface area is not. This ensures that the opening force (on 5) overcomes the closing one (on 6), which causes the gate to turn clockwise and open.
- Flap sluice gate
- A fully automatic type, controlled by the pressure head across it; operation is similar to that of a check valve. It is a gate hinged at the top. When pressure is from one side, the gate is kept closed; a pressure from the other side opens the sluice when a threshold pressure is surpassed.
- Vertical rising sluice gate
- A plate sliding in the vertical direction, which may be controlled by machinery.
- Radial sluice gate
- A structure, where a small part of a cylindrical surface serves as the gate, supported by radial constructions going through the cylinder's radius. On occasion, a counterweight is provided.
- Rising sector sluice gate
- Also a part of a cylindrical surface, which rests at the bottom of the channel and rises by rotating around its centre.
- Needle sluice
- A sluice formed by a number of thin needles held against a solid frame through water pressure as in a needle dam.
- Fan gate
- (Dutch: waaier sluis) This type of gate was invented by the Dutch hydraulic engineer Jan Blanken in 1808. He was Inspector-General for Waterstaat (Water resource management) of the Kingdom of Holland at the time.[1] The Fan door has the special property that it can open in the direction of high water solely using water pressure. This gate type was primarily used to purposely inundate certain regions, for instance in the case of the Hollandic Water Line. Nowadays this type of gate can still be found in a few places, for example in Gouda. A fan gate has a separate chamber that can be filled with water and is separated on the high-water-level side of the sluice by a large door. When a tube connecting the separate chamber with the high-water-level side of the sluice is opened, the water level, and with that the water pressure in this chamber, will rise to the same level as that on the high-water-level side. As there is no height difference across the larger gate, it exerts no force. However the smaller gate has a higher level on the upstream side, which exerts a force to close the gate. When the tube to the low water side is opened the water level in the chamber will fall. Due to the difference in the surface areas of the doors there will be a net force closing the gate.

Designing the sluice gate
Sluice gates are one of the most common hydraulic structures [2] used to control or measure the flow in open channels.[3] Vertical rising sluice gates are the most common in open channels and can operate under two flow regimes: free flow and submerged flow. The most important depths in designing of sluice gates are:
- : upstream depth
- : opening of the sluice gate
- : the minimum depth of flow after the sluice gate
- : the initial depth of the hydraulic jump
- : the secondary depth of the hydraulic jump
- : downstream depth
Logging sluices
In the mountains of the United States, sluices transported logs from steep hillsides to downslope sawmill ponds or yarding areas. Nineteenth-century logging was traditionally a winter activity for men who spent summers working on farms. Where there were freezing nights, water might be applied to logging sluices every night so a fresh coating of slippery ice would reduce friction of logs placed in the sluice the following morning.[4]
Placer mining applications

Sluice boxes are often used in the recovery of black sands, gold, and other minerals from placer deposits during placer mining operations. They may be small-scale, as used in prospecting, or much larger, as in commercial operations, where the material is sometimes screened using a trommel, screening plant or sieve. Traditional sluices have transverse riffles over a carpet or rubber matting, which trap the heavy minerals, gemstones, and other valuable minerals. Since the early 2000s more miners and prospectors are relying on more modern and effective matting systems. The result is a concentrate which requires additional processing.
Types of material used for sluice gates
Aluminium
Most sluices are formed with Aluminium using a press brake to form a U shape
- Wood
- Traditionally wood was the material of choice for sluice gates.
- Cast iron
- Cast iron has been popular when constructing sluice gates for years. This material is great at keeping the strength needed when dealing with powerful water levels.
- Stainless steel
- In most cases, stainless steel is lighter than the older cast iron material.
- Fibre-reinforced plastic (FRP)
- In modern times, newer materials such as fibre-reinforced plastic are being used to build sluices. These modern technologies have many of the attributes of the older materials, while introducing advantages such as corrosion resistance and much lighter weights.
Regional names for sluice gates
In the Somerset Levels, sluice gates are known as clyse[5] or clyce.[6][7]
Most of the inhabitants of Guyana refer to sluices as kokers.
Sinhala people in Sri Lanka who had an ancient civilization based on harvested rain water, refer to sluices as Horovuwa.[8]
Gallery
A small wooden sluice in Magome, Japan, used to power a waterwheel
Sluice gates near Henley, on the River Thames
The Korenbrugsluice in Gorinchem is a fan sluice
See also
- Control lock
- Floodgate
- Gatehouse (waterworks) – An (elaborate) structure to house a sluice gate
- Lock
- Rhyne
- Zijlstra – A Dutch name referring to one who lives near a sluice
- Sluis – A town in the Zeeland province of the Netherlands
- Van der Sluijs – A Dutch name originating from the Sluice
- Hydraulic engineering
- Canal
- List of canals by country
References
- ↑ Blanken J. Jz. (1808). Nieuw ontwerp tot het bouwen van minkostbare sluizen, welke alle de vereischten der bekende sluizen bezitten, en daarenboven de steeds ontbrekende, meer uitgebreide nuttigheden van dezelve vervullen kunnen (in Dutch).; Goudriaan, Adrianus Franciscus (1809). Verhandeling over het ontwerp van sluizen, volgens de uitgave van den heer inspecteur generaal bij den waterstaat van het Koningrijk Holland, J. Blanken Jansz., het eerste aan de Benschopper Sluis beproefd: opgesteld ter aanleiding tot eene naauwkeurige overweginge van hetzelve, in vergelijking met zijnen over dit onderwerp gedrukten brief, en het antwoord door eerstgenoemden daar op uitgegeven (in Dutch). Amsterdam: Van Esveldt-Holtrop.
- ↑ White, Frank M. (2011). Fluid mechanics (7th ed.). New York, N.Y.: McGraw Hill. ISBN 978-0-07-742241-7. OCLC 548423809.
- ↑ Silva, Carlos Otero; Rijo, Manuel (June 2017). "Flow Rate Measurements under Sluice Gates". Journal of Irrigation and Drainage Engineering. 143 (6): 06017001. doi:10.1061/(ASCE)IR.1943-4774.0001177. hdl:10174/22465. ISSN 0733-9437.
- ↑ Jones, Robert C. (1979). Two Feet Between the Rails (Volume 1 - The Early Years). Sundance Books. ISBN 0-913582-17-4.
- ↑ "FOCUS on Industrial Archaeology No. 68, June 2007". Hampshire Industrial Archaeology Society website. Archived from the original on 2007-11-10. Retrieved 2007-10-30.
- ↑ Dunning R. W. (2004). History of the County of Somerset: Volume 8: The Poldens and the Levels (Victoria County History). Oxford: Oxford University Press. ISBN 1-904356-33-8.
- ↑ "'Huntspill', A History of the County of Somerset: Volume 8: The Poldens and the Levels". British History Online. Retrieved 2007-10-30.
- ↑ "The water regulation technology of ancient Sri Lankan reservoirs: The Bisokotuwa sluice" (PDF). slageconr.net. p. 1. Retrieved 14 August 2012.
Further reading
- Crittenden, H. Temple (1976). The Maine Scenic Route. McClain Printing.
- Moody, Linwood W. (1959). The Maine Two-Footers. Howell-North.
- Cornwall, L. Peter & Farrell, Jack W. (1973). Ride the Sandy River. Pacific Fast Mail.
External links
Media related to Sluices at Wikimedia Commons
The dictionary definition of sluice at Wiktionary- Soar Valley Sluice Gates
- Salt/Fresh water separating Sluice Complex (Part of DeltaWorks)